
INCH-POUND
MIL-PRF-3098/89E
6 March 2013
SUPERSEDING
MIL-PRF-3098/89D
16 January 2006
PERFORMANCE SPECIFICATION SHEET
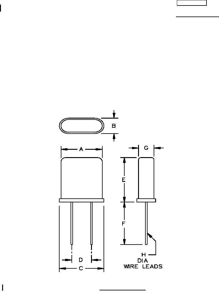
CRYSTAL UNIT, QUARTZ, CR113/U
This specification is approved for use by all Departments
and Agencies of the Department of Defense.
The requirements for acquiring the product described herein
shall consist of this specification and MIL-PRF-3098.
Pertinent characteristics: 10 MHz to 61 MHz; third mechanical overtone; controlled; series resonance.
FIGURE 1. Crystal unit - CR113/U.
AMSC N/A
FSC 5955
For Parts Inquires call Parts Hangar, Inc (727) 493-0744
© Copyright 2015 Integrated Publishing, Inc.
A Service Disabled Veteran Owned Small Business