
INCH-POUND
MIL-PRF-3098/92F
6 March 2013
SUPERSEDING
MIL-PRF-3098/92E
16 January 2006
PERFORMANCE SPECIFICATION SHEET
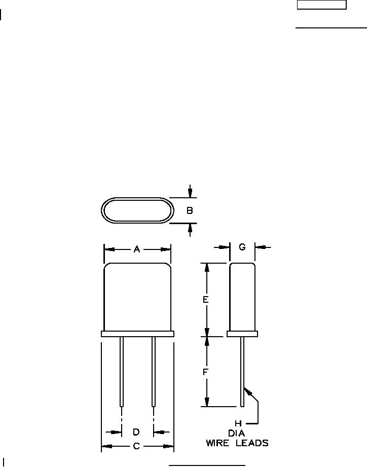
CRYSTAL UNIT, QUARTZ, CR116/U
This specification is approved for use by all Departments
and Agencies of the Department of Defense.
The requirements for acquiring the product described herein
shall consist of this specification and MIL-PRF-3098.
Pertinent characteristics: 50 MHz to 125 MHz; fifth mechanical overtone; noncontrolled; series
resonance.
FIGURE 1. Crystal unit - CR116/U.
AMSC N/A
FSC 5955
For Parts Inquires call Parts Hangar, Inc (727) 493-0744
© Copyright 2015 Integrated Publishing, Inc.
A Service Disabled Veteran Owned Small Business